装饰工程中石材的施工方法是有很多种的,具体选择哪一种方法来施工应根据不同工程项目的具体情况来确定。常见的石材施工方法主要有四大类,它们分別是“湿挂法”,“干挂法”,“湿贴法”及“干粘法”。另外还有一种非主流的施工方法“点挂法”。接下来我们就这五种施工方法来逐一进行解析和说明。
一、湿挂法

这是一种在各大国标图集里都存在的做法。八十年代,“湿挂法”无论是在建筑物外墙,还是内墙的石材饰板安装施工上是普遍采用的,这种工艺是用墙面加钢筋网片,并将石材背部拉好孔,用铜丝固定板材,把石材和墙面进行固定,在石材绑定好后,分层灌注水泥沙浆粘贴,来实现石材和墙面为一体的旧工艺。

湿挂法施工▲
这种落后的工艺用于内外墙面有许多弊病,不仅因水泥沙浆粘贴板材后碳酸氢钙析出(泛白霜)和出现水渍,使墙面石材变色,形成色差,污染墙面,而且还会由于温度变化等原因,造成墙面空鼓、开裂、甚至脱落等质量通病。

石材泛白霜和出现水渍▲
二、干挂法
石材干挂法又名空挂法。该方法是以通过基层金属骨架与墙体固定,然后用金属件把开槽或打孔的石材空挂在金属骨架上的一种工艺。这种工艺则不需再灌浆水泥砂浆来进行粘贴石材。

●干挂法的优缺点
1、优点:
a.因为整个受力结构是钢骨架受力,固定方式是物理固定而不是化学固定,因此安全性更高,抗震性也能得到保证。
b.整个石材的固定是通过钢架固定,避免了传统湿挂工艺施工出现的板材空鼓、开裂、脱落等现象,明显提高了建筑物的安全性和耐久性;也因为不使用水泥砂浆,石材也不会出板面返碱、变色等现象。
C..在一定程度上改善施工人员的劳动条件,避免湿作业,少受气候变化影响,节约冬施、雨施费用,也有助于加快工程进度。

2、缺点:
a.成本高:钢骨架的材料成本和人工成本都比较高,经常会出现基层钢骨架成本大过石材成本的现象。
B.施工慢:相对传统湿挂工艺,干挂法更为精细,施工要求也更高,过程验收程序更多,因此施工周期也更长。
C.占空间:钢骨架非常占空间,如果装饰完成面只有5公分,是无法用干挂工艺来完成的。至少要预留80mm的空间才能使用干挂工艺。

“干挂法”石材施工方式作为一种新型安装工艺,在美观、耐久、不易变色及平整度上都达到了一个新的水平。它克服了石材传统湿贴方法的缺陷,在大型民用建筑内外墙面装饰中得到日益广泛的应用。近年来,石材饰板随着干挂工艺的逐步成熟,也发展出更加安全,可靠的施工工艺。下面我们就目前市面上比较常见的几种“干挂法”施工工艺来给大家一一的阐述。

●首先我们先了解一下挂件与主体结构的固定方式,主要有两种方法:
1、凡属剪力墙结构,可通过膨胀螺栓或预埋铁件直接将挂件固定。
2、凡属框架轻质墙结构,因轻质墙不能直接固定挂件,需要通过安装金属骨架使挂件固定;就金属骨架的用料区分,主要有型钢骨架和铝材骨架两种,前者造价低,但需作镀锌和防腐处理,后者因需使用加厚或飞机用材而造价较高。

备注:立柱考虑温度应力的影响,每6米断开,中间设15mm的缝隙▼

●其次我们还需要认识埋设件,膨胀螺栓和化学锚栓施工要求和适用场景
1、埋设件按其形成时序分为预埋件和后置埋件。
a.预埋件是预先安置(埋藏)在结构内的构件,即在结构浇注时留设在结构中的由钢板和锚固筋的构件。其中预埋件分为爪式埋件,埋板带预留槽式埋件和槽型埋件。

爪形埋件 (A~F为几种常见类型,如图所示)▲

埋板带预留槽式埋件▲

槽型埋件▲
b.后置埋件就是平板埋件,是通过普通膨胀螺栓,化学锚栓来焊接封闭钢板等方式实现埋件的固定。埋件按其在主体结构上的位置划分,可分为上埋式,侧埋式和下埋式,其中下埋式受力较为不利,应谨慎使用

后置埋件▲
2、膨胀螺栓和化学锚栓主要是用在后置埋件和主体结构连接上的,总体来说化学锚栓的紧固性能是要优于膨胀螺栓,但成本比膨胀螺栓要高。另外市面上的化学锚栓良莠不全,价格差异也非常大,所以在购买时一定要注重质量,最好是找知名的品牌来采购以保证质量。

化学锚栓对工地环境的要求比膨胀螺栓要高。使用化学锚栓要求结构上打好孔之后,要用专用气筒,毛刷或压缩空气机清理钻孔中的灰尘,将化学药瓶放入到钻好的孔中,这也是与普通锚栓最大的区别。最后再把螺杆旋入孔中将内部的药剂捣碎,使其膨胀,进而填充整个孔洞,让药剂,锚栓和基材之间全部混合在一起成为一个整体,达到锚固的效果。

对于施工时间较紧的工程,化学锚栓并不是好的选择,因为化学锚栓是用化学药剂来进行锚固的,所以就需要更多的时间来让化学药剂充分固化,不然会造成锚固质量的下降。而膨胀螺栓就不存在这样的问题,只要打孔锚固好就可以马上使用,锚固的质量并不会受到任何影响,这能节约很多时间。

石材幕墙采用预埋件或化学锚栓与主体结构相连接,主体结构要求必须达到C30。
● 最后我们聊聊石材面板的连接固定方式,石材固定方式大致可分为钢销式、通槽式、短槽式、背栓式等几种形式:

石材面板的各类连接固定方式对比图▲
一、钢销式
钢销式干挂法又称插针法,是干挂石工艺中最早、最简洁的做法,钢销式又分两侧连接和四侧连接,结构特点是相邻两块石材面板固定在同一支钢销上,钢销固定在连接板上,连接板再与骨架固定。
该挂件可使板材在小范围内作上下前后调节,以确保板缝的均匀与板面的平整。由于在石材板棱边开孔,容易崩边,石材板损耗大,施工工艺复杂,现已被淘汰,基本不采用。

钢销式干挂法▲
二、单肢短槽式
用专业的开槽设备,在石材截面精确加工一条凹槽,把挂件扣入槽中,并将相邻两块石材面板共同固定在挂件上,挂件材质为不锈钢或铝合金,之后挂件再与骨架固定。由于挂件安装时需在石材截面上开槽,因此石材厚度不能低于25mm。

挂件主要有“T“形挂件和“L“形挂件,“T“形挂件多为不锈钢材质,而“L“形挂件一般为铝合金材质。因为“T“形挂件容易生锈,而且会造成石材槽口处崩坏,会造成安装质量问题。因此现在“T”形挂件已经逐步被淘汰,大多数情况下都采用L“形挂件。

“T”形挂件详图▲

“L”形挂件详图▲

“T”形挂件的质量问题▲
“单肢短槽式“安装方法的优缺点:
a.优点在于经济方便,工艺简单。
b.缺点也显而易见:
①、幕墙重量大;
②、自重由最下面的两个挑件承受,当石材幕墙向下产生位移时,易发生向下力的传递。
③、对于超大规格的石材幕墙板,需在石材板背面中间加支承点,有些做法在石材的背面开不规则的深槽,然后用胶粘结固定“一”字型挂件,其受力主要靠胶粘力来实现,并且连接点的连接质量,无法检验控制。
三、双肢短槽式
双肢短槽式干挂法是单肢短槽的改进做法,是将相邻的两块石材面板共同固定在“干”形挂件上,并与骨架固定。“干”形挂件一般采用铝合金挤压成型,属于型材的一种,其价格相对高一点。铝合金干字型挂件质轻,而且铝合金还有防腐防锈的性能特点。它的形状也正好适用保温一体板,安装合理美观。

铝合金“干”形挂件大样图▲
四、通槽式
通槽式干挂法一般采用铝合金SE组合挂件(部分采用T型或蝶形挂件),在每块石板上下边开通长槽,槽深度小于15mm,开槽宽度宜为6mm,挂件厚度大于4mm。此工艺因成本较高,且开槽工作量大,石材无法更换等原因,目前基本己不在采用。

通槽式干挂法▲
五、背栓式
随着石材技术发展,背栓式石材幕墙作为石材干挂技术的一项先进技术,具备独特的优势,能满足建筑师在造型上的特殊要求。同时它特别适合高层建筑石材幕墙的应用,也在抗震建筑幕墙施工方面起到很好的作用,是国内幕墙技术发展的方向。

背栓式干挂法是将石材饰面板与龙骨结构进行连接,然后借助预埋件将龙骨结构固定在建筑结构上,同时借助底部拓孔技术将背栓的挂件与石材的饰面板进行有效固定,进而可以有效地避免两者连接处的开缝问题,并消弱石材饰面板对龙骨结构的反作用,很大程度上避免了石材局部的破坏。

背栓式干挂法石材幕墙物无论在技术、经济、施工、可操作性等方面都具有很大的优势,具体如下;
1:板材之间独立安装、锚固受力系统明确,有可靠的力学计算保证,背栓独立受力, 避免侧面支撑方式产生的对面板的应力,提高幕墙在长期荷载作用下的使用寿命。
2:石材面板的大小不受背栓承载力的影响,而是由石材面板的抗弯能力来决定。
3:背栓式连接可以减少石材面板的支承间距从而减少石材承受的弯曲应力,降低板 的厚度。
4:抗震性能好,损耗率低、易于更换、不宜受污染,适用于开放式石材幕墙系统。
5:可以让不同面板材料搭配使用,使建筑外立面更具立体效果,丰富了外立面的设计理念,给设计师提供了广阔的设计想象空间,因此背栓式干挂石材幕墙施工技术克服了钢销式和槽式干挂石材幕墙的某些缺点,在安全性、耐久性、可更换性等方面具有明显的优势。

当然,它的缺点也是显而易见的,如下;
1:背栓的钻孔质量不便检测,当钻孔质量不好时,会造成背栓拔出,存在安全隐患;
2:背栓的紧固质量不易控制;
3:点式连接,锚栓与石材的接触面小,故所用石材板厚度要求大,造成石材成本不必要的升高。
4:背栓在紧固时,底部扩压环易对基材产生应力集中,当应用于玄武岩类玻璃质石材幕墙板时,易造成板材迸裂。

目前市面上的背栓从安装工艺上主要分为敲击式和旋进式两种,从开孔工艺上又分为齐平式、间距式、单切面和双切面背栓。
1、 旋进式背栓
旋进式背栓主要由背栓套筒、螺杆和法兰放松螺母组成,通过旋转式安装的方法并对背栓进行顶进限位设计,背栓套管安装时将膨胀到设定位置后,便不再膨胀,此设计消除了膨胀环安装不到位的隐患,避免了敲击所带来的突变荷载造成的胀应力,确保了脆性板材的安全可靠性,常用于厚度小于20mm的微晶石、陶瓷板、水晶玻璃及各类人造纤维板等脆性板材。

旋进式背栓详图▲
为了保证背栓系统和石材有效形成整体受力,旋进式背栓对石材开孔的尺寸与公差有着更为严格的要求,不合格的孔洞尺寸将对旋进式背栓的承载力大打折扣。旋进式背栓的抗震性能较差,且锥头为四膨胀片分离,整体受力较锥头(片)一体化的敲击式背栓差,且破坏形式多为顶部锥头(片)挤压破坏。

旋进式背栓安装实景图▲
2、敲击式背栓
敲击式背栓也是由背栓套筒、螺杆和法兰放松螺母组成,其安装原理是螺杆不动,背栓套筒在冲击力作用下向前方移动,利用螺杆前端楔形斜面将背栓套筒膨胀片张开,并与背栓孔内壁接触,形成挤压膨胀应力,通过螺杆承受外拉力和剪力荷载。

敲击式背栓详图▲
其安装的应用范围:天然石材、人造石材、陶瓷板材、硅酸钙板、人造纤维板材、陶瓷、玻璃、水泥板、千思板等。

敲击式背栓实物图▲
3、齐平式背栓和间距式背栓
齐平式背栓的主要特点为安装后背栓套筒与石材背面齐平,保证背栓在石材厚度内的嵌入深度即为埋置深度;间距式背栓安装后背栓套筒与石材背面不齐平,主要是为了消除板材加工引起的厚度误差,保证钻孔位置的板材与安装厚度一致。

齐平式背栓和间距式背栓详图▲
从受力方式来看,由于齐平式背栓的埋置深度一致,可保证背栓之间均匀受力,而间距式背栓在石材厚度偏差较大的情况下,其埋置深度也会存在较大偏差,在风荷载及地震荷载等水平作用力下,背栓的不均匀受力易使石材发生崩裂的风险;从安装特点来看,齐平式背栓在安装过程中需要消除板材厚度误差所带来的平整度,需要通过增加橡胶垫片的方式调整,而间距式背栓则可消除石材本身的厚度偏差。

齐平式背栓和间距式背栓三维图▲
4、单切面背栓和双切面背栓
单切面背栓在开孔时仅将背栓孔开出,然后植入背栓。由于背栓孔底大多位于石材厚度过半处,正风压和负风压对石材锥体破坏效果不同。负风压是在孔底至石材背部较厚位置,石材锥体破坏面积比正风压大,对锥体破坏承载力有利,即它能够承受的正风压荷载小于它所能承受的负风压荷载。

齐平式背栓多为单切面背栓,间距式背栓多为双切面背栓▲=
双切面背栓在开孔时,在石材背面与孔底厚度处磨出一个圆槽,同时在安装背栓时此处增加一个钢垫片,增加了正风压时的石材受力面积,使冲切破坏时的厚度等于板厚,整体结构受力较好。
三、湿贴法
湿贴是最常见的一种安装方式,主要是通过抹灰层找平,再用粘接剂把石材粘在抹灰层上固定。湿贴从工艺上来说,没有太大的差别,其质量的好坏取决于对于胶粘剂材料的选择,目前市面上常见的用于湿贴的粘接材料主要有胶泥和水泥砂浆这两大类。

接下来我们就来了解下这两种材料的特性。
1、胶泥:
a.大多数的实际施工项目中,都是以胶泥做为粘接剂材料,特别是一些价格比较昂贵的石材品种更不会采用水泥砂浆来做为粘接材料,这是因为水泥砂浆会出现的很多问题,例如石材的返碱,空鼓,水斑、脱落等。
b.胶泥粘接更牢固,强度更高。
c.胶泥的施工完成面薄。

胶泥施工工序一▲

胶泥施工工序二▲

胶泥施工工序三▲
2、水泥砂浆:
a.适用范围广,无论是贴石材、瓷砖或是马赛克,都可以用。
b.材料成本低,施工进度快。
c.用水泥砂浆来贴,容易出现返碱,空鼓等质量通病。
d.水泥砂浆对温度的适应性差。

水泥砂浆墙地面施工详图▲
用湿贴的工艺来安装石材或者瓷砖,其适用于≤3.5m的墙面或地面。
四、干贴法
干粘法一般主要用于室内空间,传统意义上的干粘法是指下基层不能沾水的情况下,又要贴石材或者贴砖,而采用的施工方式。这种形式在固定家具和小面积空间用的最多,只要基层做平整,石材粘上去后是很稳固的。
另外目前有一种新的墙面无龙骨干粘工艺,主要用在室内石材墙面装饰上,相对传统干粘法,它有不怕水,对基层平整度要求不高等特点。下面就这两种干粘施工方法给大家做介绍。

1、传统干粘法:
这是一种比较简单的安装方式,特点是基层要平整,而且不能沾水,这样才能保证石材粘上去的稳固度。例如石材饰面的服务台,要控制成本和加快安装进度,就会用在基层板上使用结构胶来粘贴石材,从而达到施工目标的完成。

优缺点:
a.优点:施工快、不占空间、不返碱、不易空鼓。
b.缺点:抗震性差,成本高、对安装高度有要求(空间高度≤3.5m使用)。
适用范围:
在小面积墙面或者固定家具面上需要使用石材饰面时,从安全性和性价比方面来考虑,传统干粘法的做法无疑是最佳选择。

传统干粘法胶的选用原则
(1)必须选用环氧树脂型双组份石材专用粘接工程胶,因为环氧树脂性能稳定,抗老化性能良好,能和多品种材料牢固粘接。
(2)要有良好的粘稠度,不会产生流淌。
(3)要有恰当的初凝时间,胶体拌和后在30~40分钟开始初凝,便于施工安装和调试。
(4)无油脂性物质污染石材
(5)耐老化试验10年以上
2、石材墙面无龙骨干粘工艺:
如果设计师在墙面石材水平拼缝线处设计“鸡嘴线”或设计“工艺槽,哪就会对石材的厚度有精准的要求,而当前市面上石材的厚度往往达不到国标石材优等品的要求,石材板厚度正负公差偏大。又例如,像电梯门洞口处, 施工完成面受到空间的限制,很难满足设计的要求。上述这种情况下就可以采用无龙骨干粘法来进行施工。

无龙骨干粘工艺节点▲

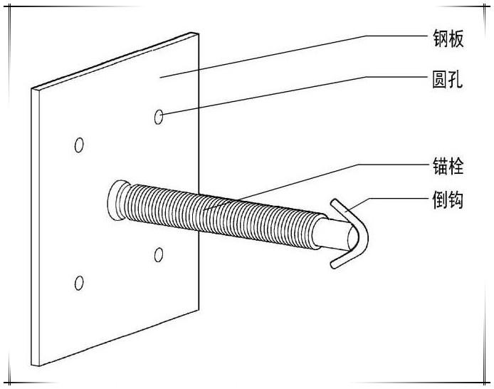
钢板-锚栓通过焊接连接示意图▲
施工流程的介绍:
首先将基层处理平整,按照每块石材的分缝在四角处打一圆孔,将结构胶填入圆孔内,然后把锚栓-钢板焊接结构植入圆孔,再将粘贴至钢板位置的石材背面杂物以及钢板上的锈斑清理干净。
石材利用专用干粘胶直接粘在钢板上,并用云石胶临时固定,石材背面开一小槽,增强石材和胶之间的剪切力,钢板在粘贴石材位置钻有一圆孔,圆孔内充满干粘胶,增强干粘胶和钢板之间的剪切力,钢板和锚栓通过焊接连接。
锚栓通过和墙体内的结构胶和墙体固定牢固,自身的螺纹增强和结构胶之间的握裹力,倒钩的设置增强和墙体之间的固定,防止锚栓被拉出墙体之外。
另外,该工艺结构中的锚栓不仅能用于混凝土结构,也适用书空心砖砌体及空心混凝土砖墙结构,该锚栓填补国内在空心墙内固定的一项技术空白。

该工艺的优点:
1、施工简便省工,工地无噪音、无粉尘污染。
2、施工现场无电焊作业,无火灾隐患。
3、更能适应室内装饰的各种特殊情况和设计要求,有效增加室内使用空间。
4、无横竖钢龙骨,大大降低材料成本。
该工艺的适用范围:
1、可用于高度不超过5m的室内装饰空间,该锚栓结构能用于混凝土墙面及空心砖、混凝土砌块等墙体。
2、对室内空间占用少,比一般的石材干挂更省空间。
五、点挂法
这种方法在工地上还是很常见的,但多发生在室内装饰中,其中有以家装或是不规范的小工装项目中多有发生,大多数情况下都是要么是施工空间小,完成面大,不得已而采用的施工方法,要不就是为了节省成本或偷工减料,从而达到利益最大化的目的。
下面就简单的介绍一下石材点挂法施工常见的几种方法
1、石材角码点挂
这里要多说一点,如果施工墙面的基层是C30混凝土,那么使用石材角码进行点挂的方法是符合现行有关规范的,但实际情况是室内的墙面基层大多数情况下都不可能是C30混凝土基层,如果不是C30混凝土基层,这种情况下大家还是要谨慎使用此施工方法。

石材角码点挂▲
如果不是因为节省成本的原因,哪多数情况下就是石材内部的安装空间不够,哪就会采用“点挂”的形式进行安装。角码点挂比较常见的施工方法是通过角码连接干挂件,用点挂的形式进行安装,和干挂石材基本是一样的。
2、AB胶粘接
这是一种比较野的做法,是直接通过石材碎料,用AB胶粘分别粘贴在石材和墙面进行固定。这种方法普遍出现在一些非正规的工程项目,或是一些用了几年就计划要拆除的项目,例如私人店铺,临时售楼处等等。

AB胶粘接▲

石材碎料粘接▲
如果一定要使用这种方法来施工,哪么层高不要大于3.5m,几年内问题是不大的,但还是不建议这么去做,还是要用规范的方法来施工。
3、木基层+结构胶
这种施工方法就是石材直接用木板和基层固定,并用结构胶进行胶粘。这更是一种偷工减料的做法了,大多数情况下都是临时项目会使用这种方法,正常情况下家装都不能用这种有安全隐患的施工方法,如果有一天你遇上有人在你管理的工地上使用这种施工方法,为了保护自已,你一定要说不。

木基层+结构胶▲
4、钉子点挂
这种方法在以前的工地也是很常见的一种施工方法,主要用在室内装饰工程项目或家装项目上,一般性的做法是把水泥钉打到墙面基层上,并用铜丝或不锈钢挂钩来和石材进行连接,之后再在墙体与石材之间灌水泥砂浆或用胶泥来进行填实。

钉子点挂▲
这种方法也常见于玻化砖或吸水性低的瓷砖墙面施工,如下图:

瓷砖节点做法示意图▲

瓷砖安装工艺▲
这次我们对石材的施工安装方法,做了一个总体的梳理,但随着科技的进步,我们会遇见更多更安全,更节能,更经济的安装工艺,愿明天越来越美好,谢谢!